-
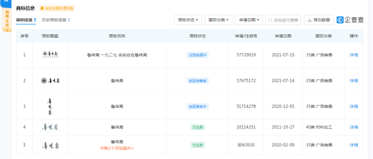
食品公司名字大全,山东共有174家企业名字叫“鲁味斋”
鲁网·泰山财经3月17日讯今日,鲁网·泰山财经记者从国家企业信用信息公示系统获悉,青岛鲁味斋食品有限公司因“通过登记的住所或者经营场所无法联系”,被列入经营异常...
2022-04-23 108阅读
大家都在看
一周热榜
-
请问知道说说公牛Q134开关面板怎么样好不好,有过的人多吗 2024-02-04
-
点评反馈卡乐优TZ1185太空沙套装质量怎么样?用了二星期经验分享 2024-02-04
-
内幕解析zuutii玻璃调料盒怎么样好不好?告知两个月感受分享 2024-02-04