shen,你的“shen”准备好了吗?
关于苹果造车这件事,车友们怎么看?其实在前几年刚听到这个消息的时候,K哥认为这是非常不靠谱的,但是仔细想想这件事,以苹果公司的(资金)实力,要是想要认真的造车,可不是分分钟吗?毕竟国内那么多造车新势力,都取得了不错的成绩。
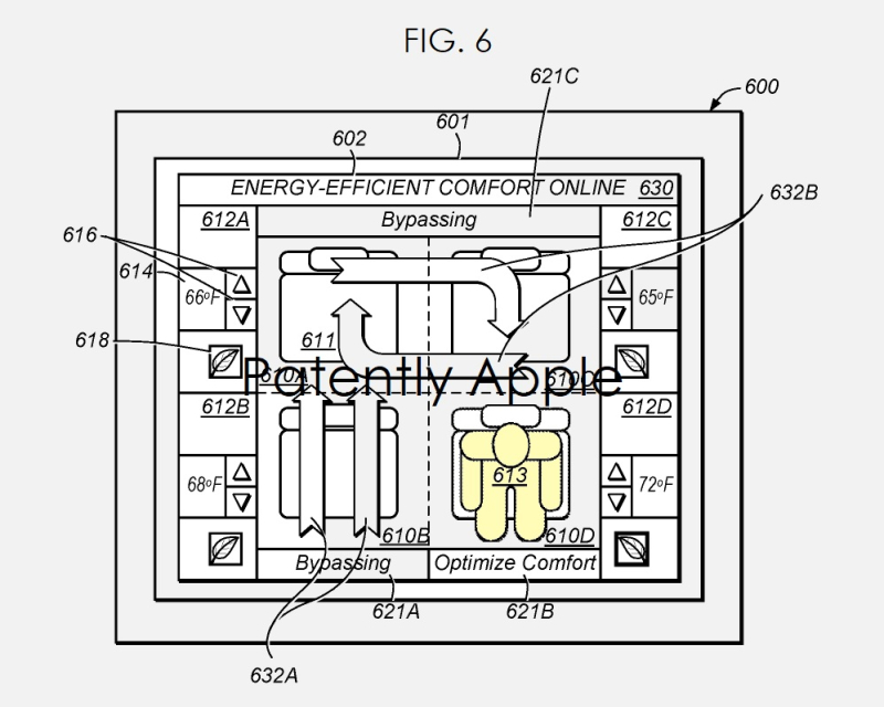
而就在近日,苹果公司获得了两项新专利,分别涉及车辆气候控制系统以及增强型车辆态势感知警报系统。
我们来了解一下这两项新专利,首先这项"气候控制系统"专利,它的作用是在不同的环境温度下,通过改变车内的一个或多个组件,调整车内的气候,包括温度、湿度、气流,给乘客带来一个舒适的感受。
听起来似乎没有什么亮点,可能我们自己也可以通过暖风和空调也可以解决这个问题,但是整个系统可以通过多个传感器(辐射、风速、流量等多个传感器)形成数据,优化不同身体部位的感知温度,进一步提升舒适感,也是这项专利的亮点。
虽然K哥并不知道实际体验如何,但是这项技术的介绍,加上苹果的优化,必定会带来优秀的体验,毕竟,能用和好用是两个概念,就像苹果手机的大多数技术并不是苹果首创一样!
第二项专利为"增强态势感知的无线车辆系统",这项专利的核心功能就是保障安全性。它主要涉及移动电子设备,在实际行驶的时候,可以通过附近车辆的无线传输,获取动态信息,同时提前进行预警,有效避免危险情况。
这对于进一步提升自动驾驶的级别应该有很大的帮助,毕竟,苹果是一家强大的科技公司。
所以对于苹果汽车,K哥现在非常的期待,如果它在续航和充电等方面可以带来突破,那么销量一定超越众多造成新势力吧?突然,K哥的肾有点疼!
如果您也喜欢汽车内容,一定别忘了点赞+关注我们:公里每小时 每天都有深度实用的汽车内容,无论是吐槽还是推荐,我们都坦率地给出了自己的想法。

